Када добијете трошковно ефикасан разделни пин, уз њега може доћи и сертификат квалитета. Ово је у основи папирологија која каже да је раздвојена игла проверена и да испуњава одређене стандарде.
У сертификату су наведени детаљи о раздвојеној игли - ко га је направио, од чега је направљен, његова величина и из које серије је дошао. То показује да је раздвојна игла тестирана на ствари као што су снага, тачност величине и да ли се правилно савија без лома. Они такође проверавају да ли је површински третман, као што је поцинковање, урађен исправно.
Сертификат потписују и оверавају печати инспектори који су радили испитивања. Ова папирологија је корисна за предузећа која морају да докажу да њихова раздвојена игла испуњава специфичне захтеве, посебно у индустријама као што су аутомобилска или производња где је праћење квалитета важно. У суштини, то је ваше уверавање да је разделна игла исправно проверена пре него што је примите.
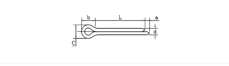
| d | 0.6 | 0.8 | 1 | 1.2 | 1.5 | 2 | 2.5 | 3.2 | 4 | 5 | 6.3 | 8 | 10 | 13 | 16 | 20 | |
| d | мак | 0.5 | 0.7 | 0.9 | 1 | 1.4 | 1.8 | 2.3 | 2.9 | 3.7 | 4.6 | 5.9 | 7.5 | 9.5 | 12.4 | 15.4 | 19.3 |
| мин | 0.4 | 0.6 | 0.8 | 0.9 | 1.3 | 1.7 | 2.1 | 2.7 | 3.5 | 4.4 | 5.7 | 7.3 | 9.3 | 12.1 | 15.1 | 19 | |
| a | мак | 1.6 | 1.6 | 1.6 | 2.5 | 2.5 | 2.5 | 2.5 | 3.2 | 4 | 4 | 4 | 4 | 6.3 | 6.3 | 6.3 | 6.3 |
| мин | 0.8 | 0.8 | 0.8 | 1.25 | 1.25 | 1.25 | 1.25 | 1.6 | 2 | 2 | 2 | 2 | 3.15 | 3.15 | 3.15 | 3.15 | |
| б≈ | 2 | 2.4 | 3 | 3 | 3.2 | 4 | 5 | 6.4 | 8 | 10 | 12.6 | 16 | 20 | 26 | 32 | 40 | |
| C | мак | 1 | 1.4 | 1.8 | 2 | 2.8 | 3.6 | 4.6 | 5.8 | 7.4 | 9.2 | 11.8 | 15 | 19 | 24.8 | 30.8 | 38.5 |
| мин | 0.9 | 1.2 | 1.6 | 1.7 | 2.4 | 3.2 | 4 | 5.1 | 6.5 | 8 | 10.3 | 13.1 | 16.6 | 21.7 | 27 | 33.8 | |
Исплатива раздвојна игла се углавном користи да би се спречило да се делови олабаве у машинама, аутомобилима и опреми. Његов задатак је да спречи клизање вијака, осовина или других клинова због вибрација. На пример, у аутомобилу ћете често наћи разделну иглу у главчинама точкова или вешању како бисте заштитили ствари.
У фабричким машинама, раздвојни клин се може користити у шаркама или покретним зглобовима како би све остало у равни. На чамцима, може да држи хардвер као битве на месту. За свакодневну употребу, можете користити разделну иглу да причврстите сечиво косилице или педалу бицикла. Само гурните разделну иглу кроз рупу и раздвојите два зупца – то је једноставан начин да направите везу која се безбедно држи, али се и даље може уклонити када је потребно.
Питање: Можете ли да обезбедите сертификат за ваш Цост Еффецтиве сплит пин?
Одговор: Да, можемо да вам дамо сертификат материјала за пин. То показује да испуњавамо стандарде као што је ИСО 1234. Ово осигурава да разделне игле које добијете одговарају механичким и димензионалним спецификацијама око којих смо се договорили.
